对夹v型球阀产品概述:
对夹v型球阀是我公司新开发的硬密封、四氟密封调节球阀。它采用板簧加载的可动阀座结构,阀座与球体不会产生卡阻或脱离等问题,密封可靠,使用寿命长。V型球阀阀芯设计成带有特殊开关的V型缺口,流通能力大,压力损失小,并具有精确的截流特性和控制功能,流量特性为近似等百分比。启闭件采用V型球缺结构,完全解决了阀腔易沉积介质的问题。
对夹v型球阀适用于Class150~600、PN1.6~10.0MPa,工作温度≤200℃的各种管路上,用于调节管路中介质的压力及流量。选用不同的材质,可分别适用于水、蒸汽、油品、硝酸、醋酸、氧化性介质、尿素等多种介质。由于阀芯和阀座之间是无间隙回转,所以具有很大的剪切力及自洁性能,尤其适用于含有纤维性或有微小固体颗粒的悬浊液及固态颗粒状的控制。因此本产品可广泛用于石油、化工、造纸、电力、冶金、制药、环保等工业部门的自控系统。
对夹v型球阀技术参数:
| 公称通径 DN(mm) | 25 | 32 | 40 | 50 | 65 | 80 | 100 | 125 | 150 | 200 | 250 | 300 |
额定流量系数KV | 32 | 46 | 78 | 90 | 160 | 250 | 360 | 610 | 1120 | 1850 | 2950 | 3700 |
允许压差(MPa) | ≤ 公称压力 |
动作范围 | 0~90° |
泄露量Q | 软密封VI级、硬密封IV级、符合ANSI B16.104标准 |
基本误差 | 带定位器:小于全行程的±2% |
回差 | 带定位器:小于全行程的2% |
试验压力(MPa) | 公称压力(MPa) | 压力级(class) | JIS(K) |
1.6 | 2.5 | 4 | 6.4 | 10 | 150 | 300 | 600 | 10K | 20K |
强度试验 | 2.4 | 3.75 | 6 | 9.6 | 15 | 3 | 7.5 | 16.5 | 2.4 | 3.8 |
密封试验 | 1.76 | 2.75 | 4.4 | 7.04 | 11 | 2.2 | 5.5 | 12.1 | 1.5 | 2.8 |
气密试验 | 0.4~0.7MPa |
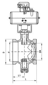
对夹v型球阀外形及连接尺寸:

公称通径 | 尺 寸(mm) |
对夹式 | 法兰式 |
| D | L | L1 | D | D1 | D2 | L | Z-D |
25 | 64 | 50 | 25 | 115 | 85 | 65 | 102 | 4-14 |
40 | 82 | 60 | 25 | 135 | 100 | 78 | 114 | 4-18 |
50 | 100 | 75 | 32 | 145 | 110 | 85 | 124 | 4-18 |
65 | 120 | 85 | 38 | 160 | 125 | 100 | 145 | 4-18 |
80 | 131 | 100 | 45 | 180 | 145 | 120 | 165 | 8-18 |
100 | 158 | 115 | 50 | 195 | 160 | 135 | 194 | 8-18 |
125 | 180 | 135 | 55 | 215 | 180 | 155 | 213 | 8-18 |
150 | 216 | 160 | 65 | 245 | 210 | 185 | 229 | 8-23 |
200 | 268 | 200 | 80 | 280 | 240 | 210 | 243 | 12-23 |
250 | 326 | 240 | 92 | 335 | 295 | 265 | 297 | 12-25 |
300 |
|
|
| 405 | 355 | 320 | 338 | 12-25 |
对夹V型球阀安装注意事项
对夹V型球阀是一种通用单向流体阀门。其重量轻,体积小,容易安装在法兰之间,对夹V型球阀阀门内部由两个半圆弹簧和板面组成,用销子固定在阀体上弹簧形变使阀板关闭,流体压力又使其开启弹簧的形变很快,这样能保护管道免受水锤破坏。
1、放置管道时应注意使对夹V型球阀的通过方向与流体流向一致;
2、安装在垂直放置的管路中。对于水平放置的管路,垂直放置对夹式止回阀;
3、在对夹V型球阀和蝶阀之间使用一个伸缩管,千万不要将其与其它阀门直接相连;
4、在阀板操作半径范围内,避免加入管接头和阻塞物;
5、不要在对对夹V型球阀的前面或者后面安装一个变径管;
6、在弯头附近安装对夹式止回阀时,要注意留有足够大的空间;
7、在水泵出口安装对夹式止回阀时,至少流出六倍阀门直径的空间以保证蝶板*终受到流体作用。