梨刀混合机
【应用范围】食品、建筑、化工、制药行业
【适用物料】塑料、胶粘原料、食品原料、粉末冶金、矿山材料、石油原料、果胶、淀粉、面粉、吸附剂、催化剂、石墨、 胭脂、腮红、聚乙烯、聚丙烯、聚氧乙烯等
产品咨询热线:021-67******/13167******
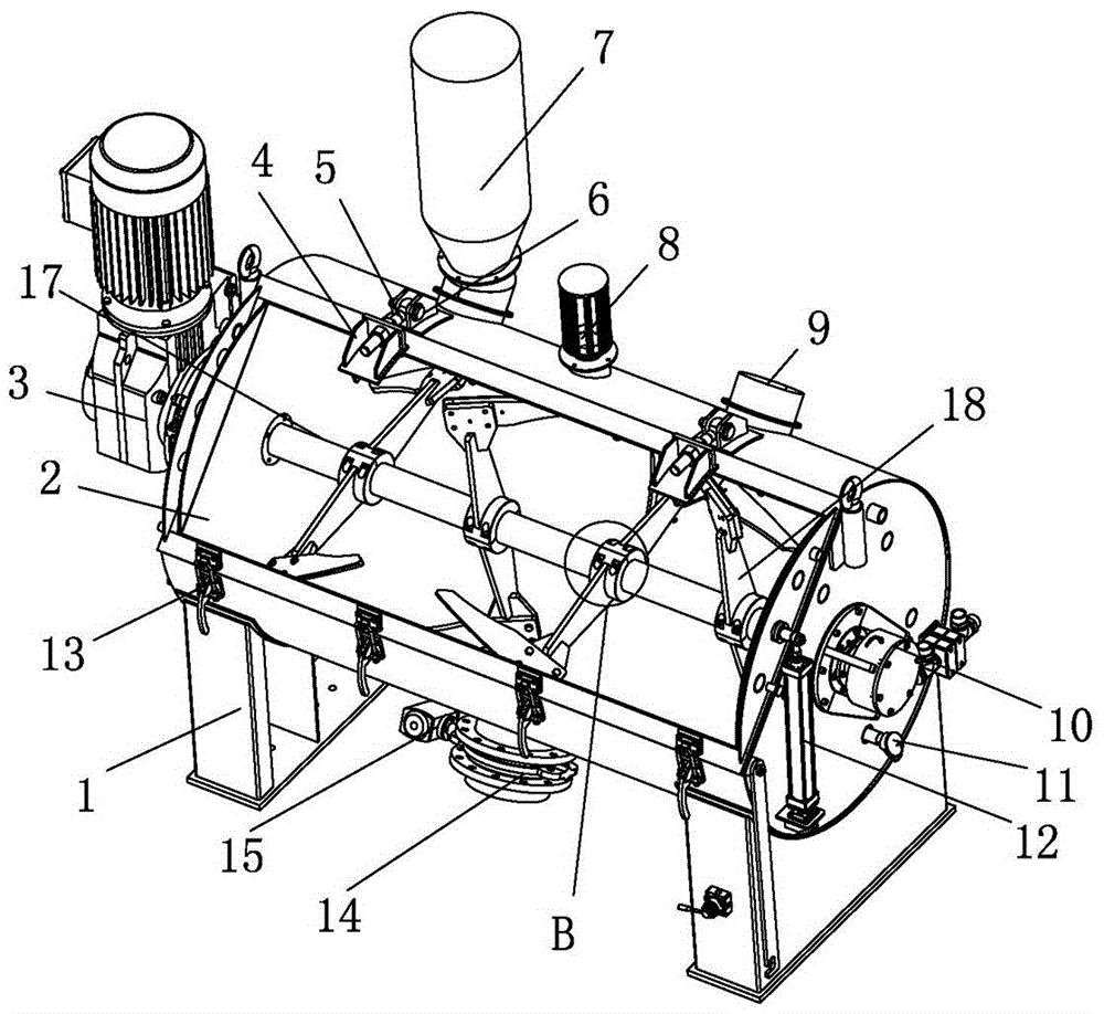
【工作原理】
犁刀混合机内的犁刀随主轴旋转使物料沿筒臂作径向圆周湍动,同时径向物料沿线流经飞刀组,被高速旋转的飞刀抛散,不断更迭、复合,使物料在较短时间内达到混合均匀。

【 产品特点 】
1、 犁刀组轴由犁刀、犁刀臂和主轴组成,犁刀用犁刀臂安装在主轴上,并作为哈夫结构,便于拆装;
2、 飞刀组由多把飞刀组成,通过电机直接驱动,安装在筒体侧面,防止粉尘进入轴承,飞刀轴采用多道密封结构;
3、 出料阀装在筒体的底部(连续出料除外),用于关闭和放出物料,其工作是通过手柄和四连杆机构来实现的;
4、 喷漆装置固定在筒体圆周上,喷嘴采用农用喷头,喷散效果好。


【 产品细节 】

【 设备参数 】
| 设备型号 | 设备容积 | 生产容积 | 混合量 | 主电机 | 主轴转速 | 飞刀电机 | 飞刀转速 | 外形尺寸 |
| (L) | (L/Batch) | (Kg/Batch) | (Kw) | (R/min) | (Kw) | (R/min) | (mm) |
| CF-LDH-100 | 100L | 30~80 | <100 | 3 | 0~80 | 1-1.5Kw | 1440R/min | 1500*500*700 |
| CF-LDH-500 | 500L | 150~400 | <300 | 7.5 | 45 | 2-3Kw | 或 | 2500*800*1200 |
| CF-LDH-1000 | 1000L | 300~800 | <600 | 11 | 45 | 2-3Kw | 2880R/min | 2700*1000*1450 |
| CF-LDH-2000 | 2000L | 500~1500 | <1200 | 15 | 45 | 3-3Kw |
| 3400*1200*2700 |
【 工程案列 】
