
奶粉方形摇摆筛精密回转筛分机往复筛选机
产品优点
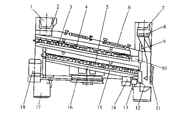
1、往复回旋式的运动方式快速的将物料分散筛分
方形摇摆筛特殊的往复回旋运动能在几乎无垂直振动和跳跃的情况下将物料迅速地向筛网散去,小颗快速地通过网面,而大颗粒逐渐地被传送到出料端。

2、往复的小球可防止筛网堵眼
方形摇摆直线筛限制在筛网下方格中的弹跳球通过直接撞击筛网来去除粘在筛网上的颗粒,使筛网表面时刻保持清洁,撞击产生的振动有助于物料的分离和粘在一起的颗粒的分离。

3、"快速夹头"能使网面自动绷紧及提供快速,简便地筛网更换快速夹头是**设计,用于自动绷紧筛网,能过弹簧夹头将筛网固定在筛格的框架上。通过在整个网面上保持均匀的拉伸力,确保系统有极高的筛分精度,减少堵眼的问题,增加了筛网的寿命,这种设计能快速地卸下筛网,极大的降低了停机时间。
4、平稳驱动系统,并带有动力平衡设计
方形摇摆筛驱动系统的动力平衡设计有使筛分运动不产生振动冲击,使系统能安装在悬吊装置上而不影响筛分效果。

河南奥创机械设备有限公司一直以来以输送、给料、破碎、筛分、除尘为主营项目,公司引进先进的技术,研制并开发具有**的大、中、小型高效节能机械设备,技术力量雄厚,研制工艺先进。
真诚期待与您的合作,奥创官网:联系电话13333****** 杜经理