
方形摇摆筛-活性碳方形摇摆筛-参数型号
方形摇摆筛的作用是单纯追求筛分精度会牺牲产量为代价,而追求大产量又会使得精度下降。RFYB方型摇摆筛是针对上述问题又一新型设计,具有高精度大产量的高效筛分设备。
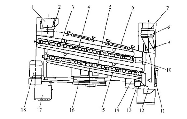
方型摇摆筛是把振动发生器转换为振动加摇摆运动,传至筛体,从而使物料在机前筛网前部迅速分散,以此达到高效筛分之目的。

特点
(1) 我公司将摇摆筛及振动筛技术进行优化,把小于1800型设备实现通用互换,并真正实现了料口360度任意旋转,与生产线衔接更加方便快捷,在客户现场振动筛和摇摆筛两种设备都用于生产时维护成本大大降低,真正的站到了客户的立场上为客户节约生产成本。
(2) 摇摆筛、振动筛所配置的超声波清网装置选用瑞士进口产品,对于吸附性、静电、大粘性的物料有显著效果,性能稳定可靠,大大节约维护频率。
(3) 针对分级颗粒度比较接近,分级时有静电起球且易堵网的物料,我公司专门设计了先筛细再筛粗的反向(反向筛分)筛分振动筛和摇摆筛,不但有效防止了堵网,还让筛分精度大大提高。
(4) 自动清网装置种类较多,自清网效果**。
(5) R系列方形摇摆筛筛网利用率较高,而且使用寿命是普通设备的3-5倍。
(6) 使用于无尘空间,密封效果良好。

河南奥创机械设备有限公司一直以来以输送、给料、破碎、筛分、除尘为主营项目,公司引进先进的技术,研制并开发具有**的大、中、小型高效节能机械设备,技术力量雄厚,研制工艺先进。
真诚期待与您的合作,奥创官网:联系电话13333****** 杜经