进口锻钢Y型过滤器|进口锻钢法兰过滤器|进口美标锻钢过滤器|进口锻钢高压过滤器
品牌:德国沃德WODE
德国沃德WODE进口锻钢Y型过滤器是采用螺栓式阀盖,按这种设计形式设计的阀门,其阀体与阀盖用螺栓连接,缠绕式垫片(304加柔性石墨制造)或采用金属环连接密封。锻钢Y型过滤器通常装在各种装置设备的进口端,用来清除介质中的杂质,以保护阀门及设备的正常使用。锻钢Y型过滤器具有结构简单、阻力小、排污方便等特点。一般用水滤网采用18-30目/英寸,如用户有特殊要求过滤网可定制。

进口锻钢Y型过滤器特点
1、有全通径或缩径。
2、螺栓连接、缠绕垫片密封式阀盖。
3、承插端符合ASME B16.11。
4、螺纹连接端(NPT)符合ANSI/ASME B1.20.1。
5、可设有排放堵塞,可更换式过滤网。
进口锻钢Y型过滤器主要技术参数:
1、设计制造BS5352 MSS SP-118。
2、连接端尺寸。
(1)、承插口尺寸按ANSI B16.11, JB/T1751。
(2)、螺纹端尺寸按ANSI B1.20.1, JB/T7306。
(3)、对焊端尺寸按ANSI B16.25, JB/T12224。
(4)、法兰端尺寸按ANSI B16.5, JB79。
3、阀门检查和试验API 598, GB/T13927, JB/T9092。
4、结构特征:螺栓连接阀盖(B.B)焊接阀盖(W.B)。
5、材料按ANSI/ASTM的规定。
6、主体材料:A105; LF2; F5; F11; F22; 304(L); 316(L); F347; F321; F51; Monel; 20合金等。
7、口径DN10~DN50(3/8″~-2″)
8、压力CL150~CL2500
注:由于网站版面的原因,具体外形尺寸结构图纸请致电沃德WODE阀门各代理商。
进口锻钢Y型过滤器适用温度范围
1、CL150-285 P.S.I @ 100°F、 CL300-740 P.S.I @ 100°F
2、CL600-1480 P.S.I @ 100°F、 CL800-1975 P.S.I @ 100°F
3、CL1500-3705 P.S.I @ 100°F、 CL2500-6170 P.S.I @ 100°F本
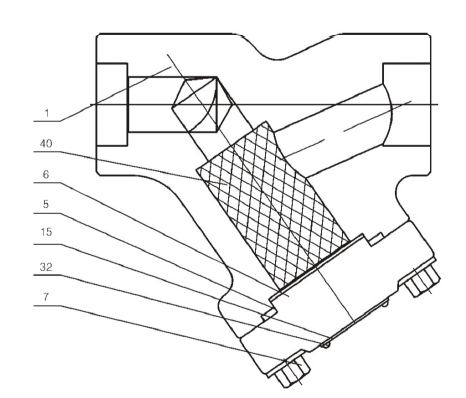
进口锻钢Y型过滤器 主要零件材料
序号 | 零件名称 | A105/F6a | A105/F6工HFS | LF2/304 | F11/F6aHF | F304(L)/304(L) | F316(L)/316(L) | F51/51 |
1 | 阀体 | A105 | A105 | LF2 | F11 | F304(L) | F316(L) | F51 |
2 | 过滤网 | 304 | 304 | 304 | 304 | 304(L) | 316(L) | 316(L) |
3 | 铭牌 | AL | AL | AL | AL | AL | AL | AL |
4 | 铆钉 | H62 | H62 | H62 | H62 | H62 | H62 | H62 |
5 | 垫片 | 304+柔性石墨 | 304+柔性石墨 | 304+柔性石墨 | 304+柔性石墨 | 304+柔性石墨 | 304+柔性石墨 | 304+柔性石墨 |
6 | 阀盖 | A105 | A105 | LF2 | F11 | F304(L) | F316(L) | F51 |
7 | 螺栓 | B7 | B7 | L7 | B16 | B8(M) | B8(M) | B8M |
若订货前未选定型号,请向我们提供使用参数:1.公称通径,2.流体性质(包括公称压力、温度、粘度或酸碱性),3.阀体、阀芯材料。
关于更多锻钢Y型过滤器详细资料请致电联系德国沃德WODE授权一级代理商:北京永德宝阀门有限公司