旋转阀类型:粉料专用旋转阀、粒料专用旋转阀、防磨蚀性粉料专用阀、防磨蚀性粒料专用阀、防粘附性粉料专用阀、防粘附性粒料专用阀、防腐蚀粘附粉料专用阀、防腐蚀粘附粒料专用阀。
旋转阀型号:DN100,DN150,DN200,DN250,DN300,DN350,DN400,DN450,DN500
系数:不好-0.4,一般-0.7,好-0.9
粉料专用旋转阀(防磨蚀性粉料专用阀、防粘附性粉料专用阀、防腐蚀粘附粉料专用阀):

粉体物料气力输送专用阀,整体铸造成型、双侧调压气密封端盖、整体封闭式叶轮,间隙为8-10丝,按照不同的物料,不同的使用场合、不同的物料配备不同功能性的旋转阀。
结构及其特点
● 给料阀壳体的上下法兰具有两种型式,圆形法兰与方形法兰,方便用户匹配。
● 传动形式有直连式与链轮式,链轮式为侧连式,其结构紧凑,外形美观。
● 左右端盖与叶轮主轴之间的密封为我公司先进技术,确保密封可靠,无泄漏。
● 可以根据上下腔(壳体)的压力要求配备压力平衡装置。
● 易起拱,易粘物料可以采用破拱装置和消粘清理装置。
● 叶轮具有“一” “V” “U”型等多种形式,可根据具体要求进行针对性的选择。
● 按类型分为标准型、高压型、耐磨型、内衬型、防卡料型、清洗型。
● 可以根据不同的要求选用不同材质,如铸铁、铸钢、铸铝、碳钢、304、316、316L等。
● 可以配备调速减速机或防爆型电机,以满足防爆要求的场合使用。
● 轴承室(两侧)均可配备气密封性端盖,确保轴承内部充有高压空气,使得物料不能进入,提高使用可靠性。
● 叶片端可以配备耐磨型密封条,用于进一步提高锁气效果。
● 可以采用镀铬或氮化处理以提高耐磨性。
l 壳体刚性结构设计,主要零件采用精密铸造,负载能力大,变形量极小。
l 设置泄漏气体平衡口,提高了输送效力。
l 可以采用特殊形式的轴气封结构,保证轴部密封的可靠性。
l 可以方便的配置传感器。

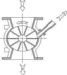
旋转卸料料器的主要组成部分是阀体,阀盖及转子,正压输送情况下,如下图所示,物料有箭头 1进入转子内,随着转子按箭头 3的方向旋转,在出料口箭头 2处落下,泄漏气体有箭头 4排出。若为负压输送,则可以将箭头 4处的排气口蒙起来。
粒料专用旋转阀(防磨蚀性粒料专用阀、防粘附性粒料专用阀、防腐蚀粘附粒料专用阀):

颗粒物料气力输送专用阀,整体铸造成型、双侧调压气密封端盖、整体封闭式叶轮,间隙为8-10丝,按照不同的物料,不同的使用场合、不同的物料配备不同功能性的旋转阀。
结构及其特点
● 给料阀壳体的上下法兰具有两种型式,圆形法兰与方形法兰,方便用户匹配。
● 传动形式有直连式与链轮式,链轮式为侧连式,其结构紧凑,外形美观。
● 左右端盖与叶轮主轴之间的密封为我公司先进技术,确保密封可靠,无泄漏。
● 可以根据上下腔(壳体)的压力要求配备压力平衡装置。
● 易起拱,易粘物料可以采用破拱装置和消粘清理装置。
● 叶轮具有“一” “V” “U”型等多种形式,可根据具体要求进行针对性的选择。
● 按类型分为标准型、高压型、耐磨型、内衬型、防卡料型、清洗型。
● 可以根据不同的要求选用不同材质,如铸铁、铸钢、铸铝、碳钢、304、316、316L等。
● 可以配备调速减速机或防爆型电机,以满足防爆要求的场合使用。
● 轴承室(两侧)均可配备气密封性端盖,确保轴承内部充有高压空气,使得物料不能进入,提高使用可靠性。
● 叶片端可以配备耐磨型密封条,用于进一步提高锁气效果。
● 可以采用镀铬或氮化处理以提高耐磨性。
l 壳体刚性结构设计,主要零件采用精密铸造,负载能力大,变形量极小。
l 设置泄漏气体平衡口,提高了输送效力。
l 可以采用特殊形式的轴气封结构,保证轴部密封的可靠性。
l 可以方便的配置传感器。

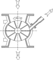
旋转卸料料器的主要组成部分阀体,阀盖及转子,正压输送情况下,如下图所示,物料有箭头 1进入转子内,随着转子按箭头 3的方向旋转,在出料口箭头 2处落下,泄漏气体有箭头 4排出。若为负压输送,则可以将箭头 4处的排气口蒙起来。