一、概述
DW901系列静压式液位变送器是一种采用静压原理测量液位的测量仪表,它由高精度、高稳定性的IC扩散硅压阻式压力传感器和单片精密集成变送器电路组成。可将液位转换成4~20mA DC标准电流信号,外壳为316L不锈钢密封结构。从而实现对液位进行测量与控制。
产品适用于石油、化工、电力、造纸、食品、医药等行业中蓄水池、污水处理,以及水利工程、自来水厂、地下水、井水、运河、湖泊、电厂和其他通用场合的液位测量而设计的。
二、特点
采用316L不锈钢外壳,IC SENSORS高性能压力传感器测量静态水位。经温度补偿,线性和重复性优良。接液部分全部采用不锈钢结构,耐腐蚀性强无可动部件、密封性好、安装方便可应用于腐蚀性较强或粘稠液体中。
三、工作原理
DW901系列静压式液位变送器由测量探头、接线盒和固定连接件三部分组成。采用投入式压力传感器探头沉入容器底部测量液位高度,液体静压力用公式P=Po+ρgh表示。其中Po为液面上部大气压,ρ为被测液体密度,H为液柱高度,g为重力加速度(常数)。为了消除液面上部大气压的影响,DW901变送器采用通心透气电缆设计方案,将PO导入传感器感压面背部,以抵消Po的影响。可见,传感器检测到的压力P与被测液位成线性关系。压力信号由单片集成V/I变送器转换成4~20mA DC输出信号,测量(记录)输出电流值大小,就可以测定液位的高度。当输出电流达到所设定的电流值时,通过选购件控制器,即可发出控制或报警信号。
传感器探头必须悬挂或固定安装在某一高度位置上,才能达到精确测量目的。在介质流动或扰动较大时,应将探头安装在支撑架上或加重锤和悬挂链条,也可以将探头置于防波管中。
四、技术参数
●适用介质 :适用与316不锈钢,聚乙烯共存的介质,哈氏合金可测强腐蚀性介质
●测量范围 :0~0.5m至0~600m
●精 度 :0.2%F.S
●工作温度 :-20℃~80℃(介质无结晶)
●贮存温度 :-40℃~125℃
●温度系数 :零点及±0.015%F.S/℃
●长期稳定性:±0.1%F.S/年
●量程迁移 :采用硅传感器的型号零点/量程不可用,输出偏移<2%F.S,采用陶瓷电容传感器的型号迁移比为5:1
●电源电压 :12~36VDC 标准24VDC
●输出信号 :两线制4~20mA
●负载特性 :标准24VDC时,负载电阻≤600Ω
●过 载 :3倍满量程
●限流保护 :在过载情况下,电源限制标称为26mA
●防护等级 :探头IP68,接线盒IP67
●防爆等级 :本安型防爆等级iaⅡCT5
●通气电缆 :聚氨脂导气电缆,配合高分子筛。
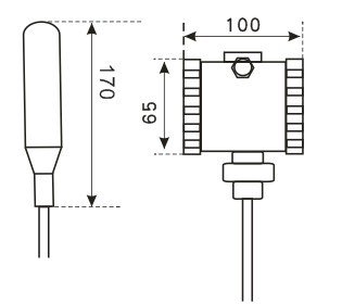
外形尺寸(mm)

五、电气连接


六、法兰安装


七、产品选型

