一、概述
FT600型音叉液位开关是一种新型的液位开关。音叉由晶体激励产生振动,当音叉被液料浸没时振动频率发生变化,这个频率变化由电子线路检测出来并输出一个开关量。
音叉式液位开关又被称作“电气浮子”,凡使用浮球液位开关和由于结垢、搅动、湍流、气泡、振动等原因导致不能使用浮球液位开关的场合均可使用“音叉物位开关”。由于音叉液位开关无活动部件,因此无须维护和调整,是浮球液位开关的升级换代产品。该产品应用于石化、轻工、食品、水处理行业,对液位进行上、下限位报警及控制。
自来水、矿泉水纸浆、胶水、染料、废水、泥浆、酸碱溶液可产生气体的液体啤酒、啤酒发酵剂、饮料柴油等危险场所流动性好的固体粉料。
二、技术参数
●供 电:24VDC(标准) 220VAC(可选)
●输出方式:SPDT继电器(单刀双掷)
●输出容量:5A@220VAC/3A@24VDC
●环境温度:-20℃~70℃
●介质温度:-40℃~150℃
●工作压力:小于2MPa
●介质密度:*低0.6g/cm3
●叉体材质:316不锈钢
●动 作 点:垂直插入水中25mm处
●相应时间:<0.5s
●延 时:1~50s(可选)
●功 耗:0.5W
●高低位报警:现场可设置为HLFS(高位报警方式)
或LLFS(低位报警方式)
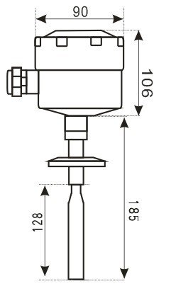
●电气接口:G1/2”
●过程连接:1”NPT螺纹安装(标准,可选BSPT);法兰安装(可选)
●外壳防护:IP65
●防 爆:Exd II Ct4
三、产品特点
●适应性强:被测液体不同的电参数、密度对测量均不产生影响。结垢、搅动、湍流、气泡、振动、中等粘度、高温、高压等恶劣条件对检测也无影响
●不需调校:由于音叉限位开关的检测不受被测介质电参数及密度的影响,所以无论测量何种液体都不需现场调校
●免于维护:由于音叉限位开关的检测过程由电子电路完成,无活动部件,所以一经安装投运使用便不需要维护

四、工作原理:
音叉式物位开关工作原理根据物料对振动中的音叉有无阻力,探知料位是否到达或超过某高度,并发出通断信号,这种原理不需要大幅度的机械运动,驱动功率小,不必校准,可快速低成本启动。机械结构简单,无机械运动部件,无维修、无磨损,运行寿命长,灵敏而可靠。
传感器的音叉由弹性良好的金属制成,材料一般使用不锈钢,如SS316.金属本身具有确定的固有频率,如外加交变力的频率与其固有频率一致,则叉体处于共振状态,由于周围空气对振动的阻力微波,金属内部的能量损耗又很少,所以只需微小的驱动功率就能维持较强的振动。
传感器的音叉以固有的频率振动,当音叉触及液体或其他物料时,其固有的振动频率降低,能量消耗在物料颗粒间的摩擦上,迫使振幅急剧衰减而停振,频率的编号激活液位开关,产生通断信号。
音叉式物位开关传感器为了给音叉提供交变的驱动力,利用放大电路对压电元件施加交变电场,靠逆压电效应,产生机械力作用在叉体上。用 一组压电元件的正压电效应检测震动,它把振动力转变为微弱的交变电信号。再由电子放大器和移相电路,把减振元件的信号放大,经过移相,施加到驱动元件上去,构成闭环振荡器。
在这个闭环中,即有机械也有电能,叉体是其中的一个关节,尚若受到物料阻力难以振动,正反馈的幅值和相位都将明显地改变,破坏了振荡条件,就会停振。只要在放大电路的输出端接以适当的器件,不难得到开关信号。
五、安装说明
音叉式物位开关通常采用侧装(在仓壁侧面安装)方式安装与仓体侧壁对料位高度进行上下限位置的检测;当仓体不便侧面开孔时可采用顶装(在仓的顶部安装)方式安装,位置应选择能避开进料时物料冲击的位置;亦可安装与管道上防止泵的无料运行。
1—高位检测(顶装)
2—高位检测(顶装)
3—高位检测(侧装)
4—低位检测(侧装)

金属罐安装示意

正确安装 错误安装
注意:侧面安装时方向标记必须垂直向上或向下
管道检测安装示意

正确安装 错误安装
注意:安装时方向标记指向必须与管道方向一致
六、产品选型
