永嘉龙洋泵阀有限公司.
高级会员第8年
品牌:龙洋泵阀
型号:ISWB卧式管道油泵
流量:0~1203(m³/h)
扬程:140 m
转速:1450、1480、2800、2900 r/min
电机功率:1.1~160 KW
ISWB型卧式单级防爆管道离心泵根据国内外先进技术而设计制造的独特结构组合设计,并严格按照国际准和**的国家管道离心泵标准JB/T53058-93进行设计制造的高效节能产品。ISW型卧式离心泵采用国内先进水力模型优化设计而成。同时根据使用温度、介质等不同在ISW型基础上派生出热水泵、高温泵、化工泵、油泵等,是目前国家标准定型推广产品。
ISWB型单级防爆卧式管道泵,供输送清水及物理化学性质类似于清水的其他液体之用,适用于工业和城市给排水,高层建筑增压送水,园林喷灌,消防增压,远距离输送,暖通制冷循环、浴室等冷暖水循环增压及设备配套,使用温度T≤80℃。
ISWB型单级防爆卧式管道泵广泛适用于:冶金、化工、纺织、造纸、以及宾馆饭店等锅炉热水增压循环输送及城市采暖系统,ISWR型使用温度T≤120℃。
lSWH卧式化工泵,供输送不含固体颗料,具有腐蚀性,粘度类似于水的液体,适用于石油、化工、冶金、电力、造纸、食品制药和合成纤维等部门,使用温度为-20~C~+120℃。
lSWB卧式管道油泵,供输送汽油、煤油、柴油等用油类产品或易燃、易爆液体,被输送介质温度为一20~C~+120℃。
1、运行平稳:泵轴的**同心度及叶轮优异的动静平衡,保证平稳运行,绝无振动。
2、密封效果好:不同材质的硬质合金密封,保证了不同介质输送均无泄漏。
3、噪音低:两个低噪音的轴承支撑下的水泵,运转平稳,除电机微弱声响,基本无噪音。
4、故障率低:结构简单合理,关键部分采用国际一流品质配套,整机无故障工作时间大大提高。
5、维修方便:更换密封、轴承、简易方便。
1、吸入压力≤1.6MPa,或泵系统**工作压力≤1.6MPa,即泵吸入口压力+泵扬程≤1.6MPa、泵静压试验压力为2.5MPa,订货时请注明系统工作压力。泵系统工作压力大于1.6MPa时应在订货时另行提出,以便在制造时泵的过流部分和联接部分采用铸钢材料。
2、环境温度<40℃,相对湿度<95%。
3、所输送介质中固体颗粒体积含量不超过单位体积的0.1%,粒度<0.2mm。
注:如使用介质为带有细小颗粒,请在订货时注明,以便厂家采用耐磨式机械密封。
|
1 |
吸入室:采用优秀水力模型设计而成。 |
6 |
机械密封:采用不锈钢、硬质合金、氟橡胶等材料制成,耐用消费品磨损,无泄漏,运行寿命长。 |
|
2 |
叶轮:采用优秀水力模型设计而成,高效节能。 |
7 |
泵盖: |
|
3 |
泵体:采用优秀水力模型设计而成。 |
8 |
泵轴:为电机加长轴,确保了轴的同心,使运行平稳,无噪音和振动现象。 |
|
4 |
取压塞:安装压力表及真空表,以监控泵的正常高效运行。 |
9 |
挡水圈:防止因密封漏水而使电机进水。 |
|
5 |
放气塞:确保泵的正常维护。 |
10 |
Y系列电动机:直接与水泵联接传递动力,部分采用上海**电机。 |
|
ISW ISWR型清水泵 ISWG |
材料 |
泵体 |
叶轮 |
泵盖 |
联体座 |
轴 |
叶轮螺母 |
||||||||
|
温度-20℃~+120℃ |
HT200 |
HT200 |
HT200 |
HT200 |
45 |
2Cr13 |
|||||||||
|
温度-45℃~+240℃ |
ZG25 |
ZG25 |
ZG25 |
ZG25 |
35CrMo |
2Cr13 |
|||||||||
|
ISWB型油泵 |
Ⅰ |
不含腐蚀性 -20℃~+120℃ |
HT200 |
HT250 |
HT200 |
HT200 |
45 |
2Cr13 |
|||||||
|
Ⅱ |
不含腐蚀性 -45℃~+240℃ |
ZG25 |
ZG25 |
25 |
ZG25 |
35CrMo |
2Cr13 |
||||||||
|
Ⅲ |
不含腐蚀性 -45℃~+240℃ |
305 |
305 |
305 |
305 |
3Cr13 |
2Cr13 |
||||||||
|
ISWH型化工泵村质及代号表(根据用户要求选用) |
材质 |
ZG1Cr18Ni9 |
ZG1Cr18Ni9 |
ZG0Cr18Ni12M02Ti |
ZG0Cr18Ni12M02Ti |
||||||||||
|
代号 |
303 |
305 |
306 |
307 |
|||||||||||
|
机械密封主要材料 (根据用户要求选用) |
静环材料 |
动环材料 |
结构件 |
橡胶件 |
弹簧 |
||||||||||
|
碳化钨(WC) 碳化硅(Sic) 氮化硅(Si3N4) 氧化铝陶瓷 石墨 |
碳化钨(WC) 碳化硅(Sic) 氮化硅(Si3N4) 氧化铝陶瓷 石墨 |
H62黄铜 1Cr18Ni19Ti |
丁晴橡胶 氟橡胶 四氟封圈 |
65Mn镀铬 1Cr18Ni9Ti |
|||||||||||
|
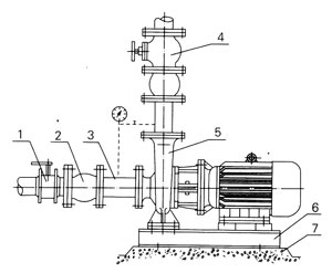
|
1 |
进口球阀 |
|
2 |
挠性接头 |
|
|
3 |
直管 |
|
|
4 |
出口闸阀 |
|
|
5 |
泵 |
|
|
6 |
底座 |
|
|
7 |
水泥基座 |
|
|
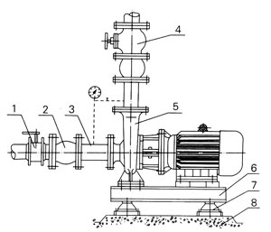
1 |
进口球阀 |
|
2 |
挠性接头 |
|
|
3 |
直管 |
|
|
4 |
出口闸阀 |
|
|
5 |
泵 |
|
|
6 |
底座 |
|
|
7 |
JGD型减振器 |
|
|
8 |
水泥基座 |
1、安装前应仔细检查泵体流产内有无硬质物,以免运行时损坏叶轮和泵体。
2、安装时管路理量不允许加在泵上,以免使泵变形,影响正常运行。
3、拧紧地脚螺栓,以免起动时振动对泵性能产生影响。
4、在泵的进、出口管路上安装调节阀,在泵出口附近安装压力表,以控制泵在额定工况内运行,确保泵的正常使用。
5、排出管路如装逆止阀应装在闸阀的外面。
6、泵的安装方式分为硬性联接安装和柔性联接安装。
| 型号 | 口径 | 流量 | 扬程 | 效率 | 转速 | 电机功率 | 必需汽蚀余量 | |
| mm | m3/h | L/S | m | % | r/min | KW | (NPSH)r | |
| 15-80 | 15 |
1.1 1.5 2.0 |
0.3 0.42 0.55 |
8.5 8 7 |
26 34 34 |
2800 | 0.18 | 2.3 |
| 20-110 | 20 |
1.8 2.5 3.3 |
0.5 0.69 0.91 |
16 15 13.5 |
25 34 35 |
2800 | 0.37 | 2.3 |
| 20-160 | 20 |
1.8 2.5 3.3 |
0.5 0.69 0.91 |
33 32 30 |
19 25 23 |
2900 | 0.75 | 2.3 |
| 25-110 | 25 |
2.8 4 5.2 |
0.78 1.11 1.44 |
16 15 13.5 |
34 42 41 |
2900 | 0.55 | 2.3 |
| 25-125 | 25 |
2.8 4 5.2 |
0.78 1.11 1.44 |
20.6 20 18 |
28 36 35 |
2900 | 0.75 | 2.3 |
| 25-125A | 25 |
2.5 3.6 4.6 |
0.69 1.0 1.28 |
17 16 14.4 |
35 | 2900 | 0.55 | 2.3 |
| 25-160 | 25 |
2.8 4 5.2 |
0.78 1.11 1.44 |
33 32 30 |
24 32 33 |
2900 | 1.5 | 2.3 |
| 25-160A | 25 |
2.6 3.7 4.9 |
0.12 1.03 1.36 |
29 28 26 |
31 | 2900 | 1.1 | 2.3 |
| 型号 | 口径 | 流量 | 扬程 | 效率 | 转速 | 电机功率 | 必需汽蚀余量 | |
| mm | m3/h | L/S | m | % | r/min | KW | (NPSH)r | |
| 32-100(I) | 32 |
4.4 6.3 8.3 |
1.22 1.75 2.32 |
13.2 12.5 11.3 |
48 54 53 |
2900 | 0.75 | 2.0 |
| 32-125 | 32 |
3.5 5 6.5 |
0.97 0.39 1.8 |
22 20 18 |
40 44 42 |
2900 | 0.75 | 2.3 |
| 32-125A | 32 |
3.1 4.5 5.8 |
0.86 1.25 1.61 |
17.6 16 14.4 |
43 | 2900 | 0.55 | 2.3 |
| 32-160(I) | 32 |
4.4 6.3 8.3 |
1.22 1.75 2.32 |
33.2 32 30.2 |
34 40 42 |
2900 | 2.2 | 2.0 |
| 32-200(I) | 32 |
4.4 6.3 8.3 |
1.22 1.75 2.32 |
50.5 50 48 |
26 33 35 |
2900 | 4 | 2.0 |
| 32-200A | 32 |
2.8 4 5.2 |
0.78 1.11 1.44 |
44.6 44 42.7 |
34 40 42 |
2900 | 2.2 | 2.0 |
| 型号 | 口径 | 流量 | 扬程 | 效率 | 转速 | 电机功率 | 必需汽蚀余量 | |
| mm | m3/h | L/S | m | % | r/min | KW | (NPSH)r | |
| 40-100 | 40 |
4.4 6.3 8.3 |
1.22 1.75 2.31 |
13.2 12.5 11.3 |
48 54 53 |
2900 | 0.55 | 2.3 |
| 40-100A | 40 |
3.9 5.6 7.4 |
1.08 1.56 2.06 |
10.6 10 9 |
52 | 2900 | 0.37 | 2.3 |
| 40-125 | 40 |
4.4 6.3 8.3 |
1.22 1.75 2.31 |
21 20 18 |
41 46 43 |
2900 | 1.1 | 2.3 |
| 40-125A | 40 |
3.9 5.6 7.4 |
1.08 1.56 2.06 |
17.6 16 14.4 |
40 45 41 |
2900 | 0.75 | 2.3 |
| 40-160 | 40 |
4.4 6.3 8.3 |
1.22 1.75 2.31 |
33 32 30 |
35 40 40 |
2900 | 2.2 | 2.3 |
| 40-160A | 40 |
4.1 5.9 7.8 |
1.14 1.64 2.17 |
29 28 26.3 |
34 39 39 |
2900 | 1.5 | 2.3 |
| 40-160B | 40 |
3.8 5.5 7.2 |
1.06 1.53 2.0 |
25.5 24 22.5 |
34 38 37 |
2900 | 1.1 | 2.3 |
| 40-200 | 40 |
4.4 6.3 8.3 |
1.22 1.75 2.31 |
51 50 48 |
26 33 32 |
2900 | 4 | 2.3 |
| 40-200A | 40 |
4.1 5.9 7.8 |
1.14 1.64 2.17 |
45 44 42 |
26 31 30 |
2900 | 3 | 2.3 |
| 40-200B | 40 |
3.7 5.3 7.0 |
1.03 1.47 1.94 |
38 36 34.5 |
29 | 2900 | 2.2 | 2.3 |
| 40-250 | 40 |
4.4 6.3 8.3 |
1.22 1.75 2.31 |
82 80 74 |
24 28 28 |
2900 | 7.5 | 2.3 |
| 40-250A | 40 |
4.1 5.9 7.8 |
1.14 1.64 2.17 |
72 70 65 |
24 28 27 |
2900 |
5.5 |
2.3 |
| 40-250B | 40 |
3.8 5.5 7.0 |
1.06 1.53 1.94 |
61.5 60 56 |
23 27 26 |
2900 | 4 | 2.3 |
| 型号 | 口径 | 流量 | 扬程 | 效率 | 转速 | 电机功率 | 必需汽蚀余量 | |
| mm | m3/h | L/S | m | % | r/min | KW | (NPSH)r | |
| 40-100(I) | 40 |
8.8 12.5 16.3 |
2.44 3.47 4.53 |
13.2 12.5 11.3 |
55 62 60 |
2900 | 1.1 | 2.3 |
| 40-100(I)A | 40 |
8 11 14.5 |
2.22 3.05 4.03 |
10.6 10 9 |
60 | 2900 | 0.75 | 2.3 |
| 40-125(I) | 40 |
8.8 12.5 16.3 |
2.44 3.47 4.53 |
21.2 20 17.8 |
49 58 57 |
2900 | 1.5 | 2.3 |
| 40-125(I)A | 40 |
8 11 14.5 |
2.22 3.05 4.03 |
17 16 14 |
57 | 2900 | 1.1 | 2.3 |
| 40-160(I) | 40 |
8.8 12.5 16.3 |
2.44 3.47 4.53 |
33 32 30 |
45 52 51 |
2900 | 3 | 2.3 |
| 40-160(I)A | 40 |
8.2 11.7 15.2 |
2.28 3.25 4.22 |
29 28 26 |
44 51 50 |
2900 | 2.2 | 2.3 |
| 40-160(I)B | 40 |
7.3 10.4 13.5 |
2.38 2.89 3.75 |
23 22 20.5 |
50 | 2900 | 1.5 | 2.3 |
| 40-200(I) | 40 |
8.8 12.5 16.3 |
2.44 3.47 4.53 |
51.2 50 48 |
38 46 46 |
2900 | 5.5 | 2.3 |
| 40-200(I)A | 40 |
8.3 11.7 15.3 |
2.31 3.25 4.25 |
45.0 44 42 |
37 45 45 |
2900 | 4 | 2.3 |
| 40-200(I)B | 40 |
7.5 10.6 13.8 |
2.08 2.94 3.83 |
37 36 34 |
44 | 2900 | 3 | 2.3 |
| 40-250(I) | 40 |
8.8 12.5 16.3 |
2.44 3.47 4.53 |
81.2 80 77.5 |
31 38 40 |
2900 | 11 | 2.3 |
| 40-250(I)A | 40 |
8.2 11.6 15.2 |
2.28 3.22 4.22 |
71.0 70 68 |
38 | 2900 | 7.5 | 2.3 |
| 40-250(I)B | 40 |
7.6 10.8 14 |
2.11 3.0 3.89 |
61.4 60 58 |
37 | 2900 | 7.5 | 2.3 |
| 40-250(I)C | 40 |
7.1 10.0 13.1 |
1.97 2.78 3.64 |
53.2 52 50.4 |
36 | 2900 | 5.5 | 2.3 |
| 型号 | 口径 | 流量 | 扬程 | 效率 | 转速 | 电机功率 | 必需汽蚀余量 | |
| mm | m3/h | L/S | m | % | r/min | KW | (NPSH)r | |
| 50-100 | 50 |
8.8 12.5 16.3 |
2.44 3.47 4.53 |
13.6 12.5 11.3 |
55 62 60 |
2900 | 1.1 | 2.3 |
| 50-100A | 50 |
8 11 14.5 |
2.22 3.05 4.03 |
11 10 9 |
60 | 2900 | 0.75 | 2.3 |
| 50-125 | 50 |
8.8 12.5 16.3 |
2.44 3.47 4.53 |
21.5 20 17.8 |
49 58 57 |
2900 | 1.5 | 2.3 |
| 50-125A | 50 |
8 11 14.5 |
2.22 3.05 4.03 |
17 16 14 |
57 | 2900 | 1.1 | 2.3 |
| 50-160 | 50 |
8.8 12.5 16.3 |
2.44 3.47 4.53 |
33 32 30 |
45 52 51 |
2900 | 3 | 2.3 |
| 50-160A | 50 |
8.2 11.7 15.2 |
2.28 3.25 4.22 |
29 28 26 |
44 51 50 |
2900 | 2.2 | 2.3 |
| 50-160B | 50 |
7.3 10.4 13.5 |
2.38 2.89 3.75 |
23 22 20.5 |
50 | 2900 | 1.5 | 2.3 |
| 50-200 | 50 |
8.8 12.5 16.3 |
2.44 3.47 4.53 |
52 50 48 |
38 46 46 |
2900 | 5.5 | 2.3 |
| 50-200A | 50 |
8.3 11.7 15.3 |
2.31 3.25 4.25 |
45.8 44 42 |
37 45 45 |
2900 | 4 | 2.3 |
| 50-200B | 50 |
7.5 10.6 13.8 |
2.08 2.94 3.83 |
37 36 34 |
44 | 2900 | 3 | 2.3 |
| 50-250 | 50 |
8.8 12.5 16.3 |
2.44 3.47 4.53 |
82 80 77.5 |
29 38 40 |
2900 | 11 | 2.3 |
| 50-250A | 50 |
8.2 11.6 15.2 |
2.28 3.22 4.22 |
71.5 70 68 |
38 | 2900 | 7.5 | 2.3 |
| 50-250B | 50 |
7.6 10.8 14 |
2.11 3.0 3.89 |
61.4 60 58 |
37 | 2900 | 7.5 | 2.3 |
| 50-250C | 50 |
7.1 10.0 13.1 |
1.97 2.78 3.64 |
53.2 52 50.4 |
36 | 2900 | 5.5 | 2.3 |
| 型号 | 口径 | 流量 | 扬程 | 效率 | 转速 | 电机功率 | 必需汽蚀余量 | |
| mm | m3/h | L/S | m | % | r/min | KW | (NPSH)r | |
| 50-100(I) | 50 |
17.5 25 32.5 |
4.86 6.94 9.03 |
13.7 12.5 10.5 |
67 69 69 |
2900 | 1.5 | 2.5 |
| 50-100(I)A | 50 |
15.6 22.3 29 |
4.3 6.19 8.1 |
11 10 8.4 |
65 67 68 |
2900 | 1.1 | 2.5 |
| 50-125(I) | 50 |
17.5 25 32.5 |
4.86 6.94 9.03 |
21.5 20 18 |
60 68 67 |
2900 | 3 | 2.5 |
| 50-125(I)A | 50 |
15.6 22.3 29 |
4.33 6.19 8.1 |
17 16 13.6 |
58 66 65 |
2900 | 2.2 | 2.5 |
| 50-160(I) | 50 |
17.5 25 32.5 |
4.68 6.94 9.03 |
34.4 32 27.5 |
54 63 60 |
2900 | 4 | 2.5 |
| 50-160(I)A | 50 |
16.4 23.4 30.4 |
4.56 6.5 8.44 |
30 28 24 |
54 62 59 |
2900 | 4 | 2.5 |
| 50-160(I)B | 50 |
15.0 21.6 28 |
4.17 6.0 7.78 |
26 24 20.6 |
58 | 2900 | 3 | 2.5 |
| 50-200(I) | 50 |
17.5 25 32.5 |
4.86 6.94 9.03 |
52.7 50 45.5 |
49 58 59 |
2900 | 7.5 | 2.5 |
| 50-200(I)A | 50 |
16.4 23.5 30.5 |
4.56 6.53 8.47 |
46.4 44 40 |
48 57 58 |
2900 | 7.5 | 2.5 |
| 50-200(I)B | 50 |
15.2 21.8 28.3 |
4.22 6.06 7.86 |
40 38 34.5 |
55 | 2900 | 5.5 | 2.5 |
| 50-250(I) | 50 |
17.5 25 32.5 |
4.86 6.94 9.03 |
82 80 76.5 |
39 50 52 |
2900 | 15 | 2.5 |
| 50-250(I)A | 50 |
16.4 23.4 30.5 |
4.56 6.5 8.47 |
71.5 70 67 |
39 50 52 |
2900 | 11 | 2.5 |
| 50-250(I)B | 50 |
15 21.6 28 |
4.17 6.0 7.78 |
61 60 57.4 |
38 49 54 |
2900 | 11 | 2.5 |
| 50-315(I) | 50 |
17.5 25 32.5 |
4.86 6.94 9.03 |
128 125 122 |
30 40 44 |
2900 | 30 | 2.5 |
| 50-315(I)A | 50 |
16.6 23.7 31 |
4.61 6.58 8.6 |
115 113 110 |
30 40 44 |
2900 | 22 | 2.5 |
| 50-315(I)B | 50 |
15.7 22.5 29.2 |
4.36 6.25 8.0 |
103 101 98 |
39 | 2900 | 18.5 | 2.5 |
| 50-315(I)C | 50 |
14.4 20.6 26.8 |
4.0 5.72 7.44 |
86 85 83 |
38 | 2900 | 15 | 2.5 |
| 型号 | 口径 | 流量 | 扬程 | 效率 | 转速 | 电机功率 | 必需汽蚀余量 | |
| m3/h | L/S | m | % | r/min | KW | (NPSH)r | ||
| 65-100 | 65 |
17.5 25 32.5 |
4.86 6.94 9.03 |
13.7 12.5 10.5 |
67 69 69 |
2900 | 1.5 | 2.5 |
| 65-100A | 65 |
15.6 22.3 29 |
4.3 6.19 8.1 |
11 10 8.4 |
65 67 68 |
2900 | 1.1 | 2.5 |
| 65-125 | 65 |
17.5 25 32.5 |
4.86 6.94 9.03 |
21.5 20 18 |
60 68 67 |
2900 | 3 | 2.5 |
| 65-125A | 65 |
15.6 22.3 29 |
4.33 6.19 8.1 |
17 16 14.4 |
58 66 65 |
2900 | 2.2 | 2.5 |
| 65-160 | 65 |
17.5 25 32.5 |
4.86 6.94 9.03 |
34.4 32 27.5 |
54 63 60 |
2900 | 4 | 2.5 |
| 65-160A | 65 |
16.4 23.4 30.4 |
4.56 6.5 8.44 |
30 28 24 |
54 62 59 |
2900 | 4 | 2.5 |
| 65-160B | 65 |
15.0 21.6 28 |
4.17 6.0 7.78 |
26 24 20.6 |
58 | 2900 | 3 | 2.5 |
| 65-200 | 65 |
17.5 25 32.5 |
4.86 6.94 9.03 |
52.7 50 45.5 |
49 58 59 |
2900 | 7.5 | 2.5 |
| 65-200A | 65 |
16.4 23.5 30.5 |
4.56 6.53 8.47 |
46.4 44 40 |
48 57 58 |
2900 | 7.5 | 2.5 |
| 65-200B | 65 |
15.2 21.8 28.3 |
4.22 6.06 7.86 |
40 38 34.5 |
55 | 2900 | 5.5 | 2.5 |
| 65-250 | 65 |
17.5 25 32.5 |
4.86 6.94 9.03 |
82 80 76.5 |
39 50 52 |
2900 | 15 | 2.5 |
| 65-250A | 65 |
16.4 23.4 30.5 |
4.56 6.5 8.47 |
71.5 70 67 |
39 50 52 |
2900 | 11 | 2.5 |
| 65-250B | 65 |
15 21.6 28 |
4.17 6.0 7.78 |
61 60 57.4 |
38 49 54 |
2900 | 11 | 2.5 |
| 65-315 | 65 |
17.5 25 32.5 |
4.86 6.94 9.03 |
127 125 122 |
32 40 44 |
2900 | 30 | 2.5 |
| 65-315A | 65 |
16.6 23.7 31 |
4.61 6.58 8.6 |
115 113 110 |
32 40 44 |
2900 | 22 | 2.5 |
| 65-315B | 65 |
15.7 22.5 29.2 |
4.36 6.25 8.0 |
103 101 98 |
39 | 2900 | 18.5 | 2.5 |
| 65-315C | 65 |
14.4 20.6 26.8 |
4.0 5.72 7.44 |
86 85 83 |
38 | 2900 | 15 | 2.5 |
| 型号 | 口径 | 流量 | 扬程 | 效率 | 转速 | 电机功率 | 必需汽蚀余量 | |
| mm | m3/h | L/S | m | % | r/min | KW | (NPSH)r | |
| 65-100(I) | 65 |
35 50 65 |
9.72 13.9 18.1 |
13.8 12.5 10 |
67 73 70 |
2900 | 3 | 3.0 |
| 65-100(I)A | 65 |
31.3 44.7 58 |
8.7 12.4 16.1 |
11 10 8 |
66 72 69 |
2900 | 2.2 | 3.0 |
| 65-125(I) | 65 |
35 50 65 |
9.72 13.9 18.1 |
22 20 17 |
67 72.5 70 |
2900 | 5.5 | 3.0 |
| 65-125(I)A | 65 |
31.3 44.7 58 |
8.7 12.5 16.1 |
17.5 16 13.6 |
66 71 69 |
2900 | 4 | 3.0 |
| 65-160(I) | 65 |
35 50 65 |
9.72 13.9 18.1 |
35 32 28 |
63 71 70 |
2900 | 7.5 | 3.0 |
| 65-160(I)A | 65 |
32.7 46.7 61 |
9.1 13.0 16.9 |
30.6 28 24 |
62 70 69 |
2900 | 7.5 | 3.0 |
| 65-160(I)B | 65 |
30.3 43.3 56.3 |
8.4 12.0 15.6 |
26 24 21 |
69 | 2900 | 5.5 | 3.0 |
| 65-200(I) | 65 |
35 50 65 |
9.72 13.9 18.1 |
53.5 50 46 |
55 67 68 |
2900 | 15 | 3.0 |
| 65-200(I)A | 65 |
32.8 47 61 |
9.1 13.1 16.9 |
47 44 40 |
54 66 67 |
2900 | 11 | 3.0 |
| 65-200(I)B | 65 |
30.5 43.5 56.6 |
8.5 12.1 15.7 |
40.6 38 33.4 |
65 | 2900 | 7.5 | 3.0 |
| 65-250(I) | 65 |
35 50 65 |
9.72 13.9 18.1 |
83 80 72 |
52 59 60 |
2900 | 22 | 3.0 |
| 65-250(I)A | 65 |
32.5 46.7 61 |
9.0 13.0 16.9 |
73 70 63 |
52 59 60 |
2900 | 18.5 | 3.0 |
| 65-250(I)B | 65 |
30 43.3 56 |
8.3 12.0 15.6 |
62 60 54 |
58 | 2900 | 15 | 3.0 |
| 65-315(I) | 65 |
35 50 65 |
9.72 13.9 18.1 |
128 125 121 |
44 54 57 |
2900 | 37 | 3.0 |
| 65-315(I)A | 65 |
32.5 46.5 60.5 |
9.0 12.9 16.8 |
112.6 110 106.4 |
43 54 57 |
2900 | 30 | 3.0 |
| 65-315(I)B | 65 |
31 44.5 58 |
8.6 12.4 16.1 |
102.5 100 98 |
53 | 2900 | 30 | 3.0 |
| 65-315(I)C | 65 |
29 41 53.6 |
8.1 11.4 14.9 |
87 85 83 |
51 | 2900 | 22 | 3.0 |
| 型号 | 口径 | 流量 | 扬程 | 效率 | 转速 | 电机功率 | 必需汽蚀余量 | |
| mm | m3/h | L/S | m | % | r/min | KW | (NPSH)r | |
| 80-100 | 80 |
35 50 65 |
9.72 13.9 18.1 |
13.8 12.5 10 |
67 73 70 |
2900 | 3 | 3.0 |
| 80-100A | 80 |
31.3 44.7 58 |
8.7 12.5 16.1 |
11 10 8 |
66 72 69 |
2900 | 2.2 | 3.0 |
| 80-125 | 80 |
35 50 65 |
9.72 13.9 18.1 |
22 20 17 |
67 72.5 70 |
2900 | 5.5 | 3.0 |
| 80-125A | 80 |
31.3 45 58 |
8.7 12.5 16.1 |
17.5 16 13.6 |
66 71 69 |
2900 | 4 | 3.0 |
| 80-160 | 80 |
35 50 65 |
9.72 13.9 18.1 |
35 32 28 |
63 71 70 |
2900 | 7.5 | 3.0 |
| 80-160A | 80 |
32.7 46.7 61 |
9.1 13.0 16.9 |
30.6 28 24 |
62 70 69 |
2900 | 7.5 | 3.0 |
| 80-160B | 80 |
30.3 43.3 56.3 |
8.4 12.0 15.6 |
26 24 21 |
69 | 2900 | 5.5 | 3.0 |
| 80-200 | 80 |
35 50 65 |
9.72 13.9 18.1 |
53.5 50 46 |
55 67 68 |
2900 | 15 | 3.0 |
| 80-200A | 80 |
32.8 47 61 |
9.1 13.1 16.9 |
47 44 40 |
54 66 67 |
2900 | 11 | 3.0 |
| 80-200B | 80 |
30.5 43.5 56.6 |
8.5 12.1 15.7 |
40.6 38 33.4 |
65 | 2900 | 7.5 | 3.0 |
| 80-250 | 80 |
35 50 65 |
9.72 13.9 18.1 |
83 80 72 |
52 59 60 |
2900 | 22 | 3.0 |
| 80-250A | 80 |
32.5 46.7 61 |
9.0 13.0 16.9 |
73 70 63 |
52 59 60 |
2900 | 18.5 | 3.0 |
| 80-250B | 80 |
30 43.3 56 |
8.3 12.0 15.6 |
62 60 54 |
58 | 2900 | 15 | 3.0 |
| 80-315 | 80 |
35 50 65 |
9.72 13.9 18.1 |
128 125 122 |
43 54 57 |
2900 | 37 | 3.0 |
| 80-315A | 80 |
32.5 46.5 60.5 |
9.0 12.9 16.8 |
112.6 110 107.4 |
43 54 57 |
2900 | 30 | 3.0 |
| 80-315B | 80 |
31 44.5 58 |
8.6 12.4 16.1 |
102.5 100 98 |
53 | 2900 | 30 | 3.0 |
| 80-315C | 80 |
29 41 53.6 |
8.1 11.4 14.9 |
98 85 83 |
51 | 2900 | 22 | 3.0 |
| 80-350 | 80 |
35 50 65 |
9.72 13.9 18.1 |
146 150 142 |
55 66 67 |
2900 | 55 | 3.0 |
| 80-350A | 80 |
31 44.5 58 |
8.6 12.4 16.1 |
138.4 142 134.8 |
65 | 2900 | 45 | 3.0 |
| 80-350B | 80 |
29 41 53.6 |
8.1 11.4 14.9 |
131.4 135 127.8 |
63 | 2900 | 37 | 3.0 |
| 型号 | 口径 | 流量 | 扬程 | 效率 | 转速 | 电机功率 | 必需汽蚀余量 | |
| mm | m3/h | L/S | m | % | r/min | KW | (NPSH)r | |
| 80-100(I) | 80 |
70 100 130 |
19.4 27.8 36.1 |
13.6 12.5 11 |
66 76 75 |
2900 | 5.5 | 4.5 |
| 80-100(I)A | 80 |
62.6 89 116 |
17.4 24.7 32.2 |
11 10 8.8 |
64 74 74 |
2900 | 4 | 4.5 |
| 80-125(I) | 80 |
70 100 130 |
19.4 27.8 36.1 |
23.5 20 14 |
70 76 65 |
2900 | 11 | 4.5 |
| ||||||||
手机锂电网
