永嘉龙洋泵阀有限公司.
高级会员第8年
品牌:龙洋泵阀
型号:SZ-1、SZ-2、SZ-3、SZ-4
**真空度:84%~93%
转速:1440、980、740 r/min
**压力:0.10~0.21 MPa
**气量:0.45~8.33 m³/min
电动功率:4.0~7.5 KW
重量:310~2000 kg(包括电机)
SZ系列水环式真空泵及压缩机是用来抽吸或压缩空气和其它无腐蚀性,不溶于水,不含有固体颗粒的气体,以便在密闭容器中形成真空和压力。但吸入气体允许混有少量液体它被广泛运用于机械、石油化工、制药、食品、制糖工业及电子领域。由于在工作过程中,气体的压缩是等温的,所以在压缩和抽吸易燃、易爆气体时,不易发生危险,所以其应用更加广泛。
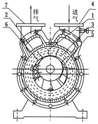
SZ系列水环式真空泵型号意义
水环式真空泵及压缩机是用来抽吸或压缩空气和其它无腐蚀性不溶于水的气体,以便在密闭的容器中形成真空和压力。
SZ水环式真空泵有SZ-1、SZ-2、 SZ-3及 SZ-4四种规格,泵所形成的**真空度分别在86~95%之间。SZ-1及 SZ-2所能形成的**压力为1.0~1.4公斤/厘米2,SZ-3及SZ-4在所配电动机功率容许下的**压力为1.5公斤/厘米2,若增加电动机功率,**压力为2.1公斤/厘米2(泵型意义:如SZ-1、S-水环式、Z-真空泵,1-泵的序号)
|
1 | 叶轮 |
|
a | 底腳 |
| 2 | 泵体 |
|
|
||
| 3 | 水环 | C | 进气管 | ||
| 4 | 进气管 | d | 吸气孔 | ||
| 5 | 吸气孔 | e | 橡皮阀 | ||
| 6 | 排气孔 | f | 排气管 | ||
| 7 | 排气管 | g | 排气孔 | ||
| u | 进水孔 |
工作原理:
SZ水环式真空泵如图1所示,叶轮①偏心地装在泵体②内,起动时向泵内注入一定高度的水,因此当叶片轮旋转时,水受离心力的作用而在泵体壁上形成-旋转水环③,水环上部内表面与轮毂相切,沿箭头主向旋转,在前半转的过程中,水环内表面逐渐与轮毂脱离,SZ水环式真空泵因此在叶轮叶片间形成空间并逐渐扩大,这样就在吸气口吸入空气;在后半转的过程中,水环的内表面渐渐与轮毂靠近,叶片间的空间容积随着缩小,叶片间的空气因此被压缩而排出。
如此叶轮每转动一周,叶片间的空间容积改变一次,每个叶片间的水好像活塞一样往复一次,SZ水环式真空泵就连续不断地抽吸气体。
由于在工作中,水会发热,同时一部分水会和气体一起被排走,因此SZ水环式真空泵在工作中,泵中必须不断地供给冷水,以冷却和补充泵内消耗的水。供给的冷水以15℃为宜。
当SZ水环式真空泵排出的气体是废气时候,在排气一端接有一水箱,废气和所带的一部分水排入水箱后,气体再由水箱的出管跑掉,而水就落入水箱的底部经回水管再回到泵内使用,如果循环时间长了便会发热,这时需从水箱的供水处供给一定的冷水。
1、使用寿命长
2、安全连续运行时间长
3、应用广泛
4、维护方便
5、国际标准
6、安全可靠
7、流动性工作方便
8、外型小
| 型号 |
真空** 吸气量 (m³/min) |
压缩机** 排气量 (m³/min) |
电机功率 (kw) |
转速(r/min) | 水耗量(L/min) | **真空度(%) | **压力(MPa) |
重量 (包括电机) Weight |
|||||||||
| 当真空度为 | 当压力为(MPa) | 真空泵 | 压缩机 | ||||||||||||||
| 0% | 40% | 60% | 80% | 90% | 0 | 0.05 | 0.08 | 0.1 | 0.15 | ||||||||
| SZ-1 | 1.5 | 0.64 | 0.4 | 0.12 | - | 1.5 | 1 | - | - | - | 4 | 5.5 | 1440 | 10 | 84 | 0.10 | 310 |
| SZ-2 | 3.4 | 1.65 | 0.95 | 0.25 | - | 3.4 | 2.6 | 2 | 1.5 | - | 7.5 | 11 | 1440 | 30 | 87 | 0.14 | 380 |
| SZ-3 | 11.5 | 6.8 | 3.6 | 1.5 | 0.5 | 11.5 | 9.2 | 8.5 | 7.5 | 3.5 | 22 | 37 | 980 | 70 | 92 | 0.21 | 1300 |
| SZ-4 | 27 | 17.6 | 11 | 3 | 1 | 27 | 26 | 20 | 16 | 9.5 | 75 | 90 | 740 | 100 | 93 | 0.21 | 2000 |
SZ系列水环式真空泵性能曲线图
1、真空泵真空度从40%到90%或压力从0.05MPa到0.15MPa的吸排气量随着供水量的大小 ,叶轮与侧盖的间隙大小而变化,叶轮与侧盖的间隙大小而变化,特别是流量较小时,如果调整不准确更容易引起偏小
2、表内数值是在下列条件下得出:①水温15℃; ②空气20℃; ③气体相对温度70%;④大气压力0.1013MPa
3、表内性能偏差不超过5%
| 代号 | A | B | C1 | C2 | D1 | D2 | E | F | H | P | R | K | T | M | L | 地脚螺栓 |
| SZ-1 | 557 | 313 | 420 | 362 | 470 | 412 | 2 | 1325 | 315 | 143 | 87 | 551 | 190 | 847 | 518 | M16×400 |
| SZ-2 | 705 | 378 | 454 | 410 | 514 | 470 | 2 | 1582 | 385 | 150 | 80 | 710 | 320 | 1119 | 610 |
| 代号 | A | B | C | D | H | I | J | K | L | M | N | P | Q | R | S |
| SZ-3真空泵 | 2202 | 4 | 768 | 655 | 1177 | 1737 | 1357 | 1100 | 330 | 142.5 | 912.5 | 295 | 380 | 420 | 1050 |
| 代号 | T | V2 | V1 | W1 | W2 | X | Y | d1 | d2 | d3 | d4 | d5 | d6 | 地脚螺栓 | |
| SZ-3真空泵 | 650 | 480 | 580 | 650 | 550 | 20 | 320 | 235 | 200 | 125 | 205 | 170 | 100 | M24×630 | |
| 代号 | A | B | C | D | H | G | X | M | Y | W | T | N | L |
| SZ-4真空泵 | 927 | 787 | 1506 | 1015 | 750 | 485 | 4 | 192.5 | 650 | 1100 | 864.5 | 405 | 826 |
| 代号 | R | Z | d1 | d2 | d3 | d4 | d5 | d6 | d7 | d8 | F | E | 地脚螺栓 |
| SZ-4真空泵 | 2733 | 950 | 175 | 225 | 290 | 150 | 225 | 260 | 18 | 18 | 70 | 575 | M24×630 |
邮箱:libatterychina@163.com
北京:北京市海淀区上地三街9号金隅嘉华大厦C座904
010-62980511
山东:山东省临沂市鲁商中心A8楼1单元9层
0539-8601323
锂电中国(libattery.net)版权所有
Copyright By 北京贝特互创科技有限公司
手机锂电网
